65 780 руб.
с НДС - на 21.04.2026 г.
| Модель: | ![]() |
АПР-1200 |
Пылеуловитель АПР-1200 предназначены для отсоса и очистки воздуха от тяжелой абразивной пыли (металл, наждак) и подобных ей взвешенных частиц с возвратом воздуха в помещение.
Имеют минимальные энергозатраты, идеально подходят для небольших производств с неполной загрузкой станков в течении смены.
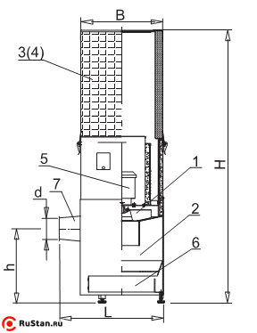
Рециркуляционные пылеулавливающие агрегаты АПР-1200, АПР-1600, АПРК-1200, АПРК-1600 предназначены для отсоса и очистки воздуха от сухой неслипающейся мелкодисперсной абразивной пыли. Пылеулавливающий аппарат АПР-1200 состоит из корпуса, встроенного циклонного элемента для отделения крупных фракций пыли, пылесборника, центробежного вентилятора с профилированными лопатками, установленного внутри корпуса, встроенного шумоглушителя и фильтровальной ступени.
В качестве фильтровальной ступени на пылеулавливающий аппарат может устанавливаться либо фильтровальный рукав из импортного иглопробивного каландрированного материала на основе полиэфирных волокон (АПР-1200, АПР-1600), либо за доп. плату кассета из фильтровальной бумаги класса очистки F 9 (АПРК-1200, АПРК-1600).
Аппараты с фильтровальным мешком имеют относительно небольшую фильтрующую поверхность и, вследствие этого, низкую пылеемкость. Аппараты с кассетой вследствие развитой поверхности фильтрации имеют значительно большую пылеемкость, позволяющую обеспечить длительную работу аппарата без существенного снижения производительности. На пылеулавливающих аппаратах с фильтровальной кассетой остаточная концентрация пыли, как правило, не превышает 0,5 мг/м3. Аппараты устанавливаются в непосредственной близости от станков, обеспечивая при этом скорость всасывания в отсосе до 22 м/с.
Оптимально подходят для оборудования с небольшим коэффициентом загрузки 0,1/0,2. К одному аппарату может присоединяться несколько местных отсосов.
ТЕХНИЧЕСКИЕ ХАРАКТЕРИСТИКИ АПР-1200
| Характеристика | АПР-1200 |
|---|---|
| Производительность по воздуху, м3/ч | 1200 |
| Емкость пылесборника, м3 | 0,04 |
| Количество входных патрубков, шт | 1-2 |
| Наибольшее расстояние от станков, м | 3 |
| Разрежение на всасывании при номинальной производительности, Па | 1200 |
| Эффективность очистки от пыли среднемедианный размер частиц d=30мк. | Не менее, 99,5% |
| Уровень шума, дБа | 74 |
| Мощность электродвигателя вентилятора, кВт | 2,2 |
| Габариты, мм | 600х650х2300 |
| Масса АПР-1200 , кг | 60 |
Комментарии и вопросы:
Комментариев пока нет, но ваш может быть первым.Разметить комментарий или вопрос


